The following band pass filters are easily constructed and the network analyzer performance swept responses show you exactly what they will do.

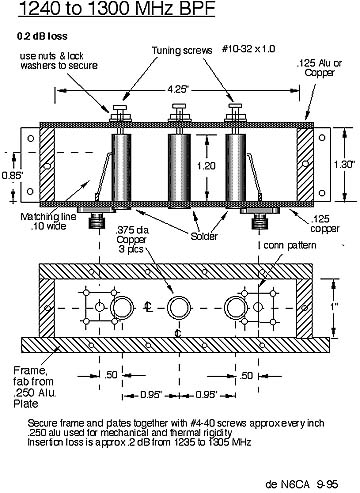
1240 to 1300 MHz low loss 3 pole, .......response plot
2200 to 2400 MHz low loss 3 pole, .......response plot
2304 MHz narrow 5 pole, response plot narrow & wide