24 GHz 1 watt Solid State Amplifier drawings

de KH6WZ Feb 06

P/N 1028926

300 dpi scans, 2.7Mb total

drawing #1

drawing #2

drawing #3

drawing #4 Block diagram

drawing #5, Electrical specs

drawing #6 Power supply requirements

drawing #7 External interfaces

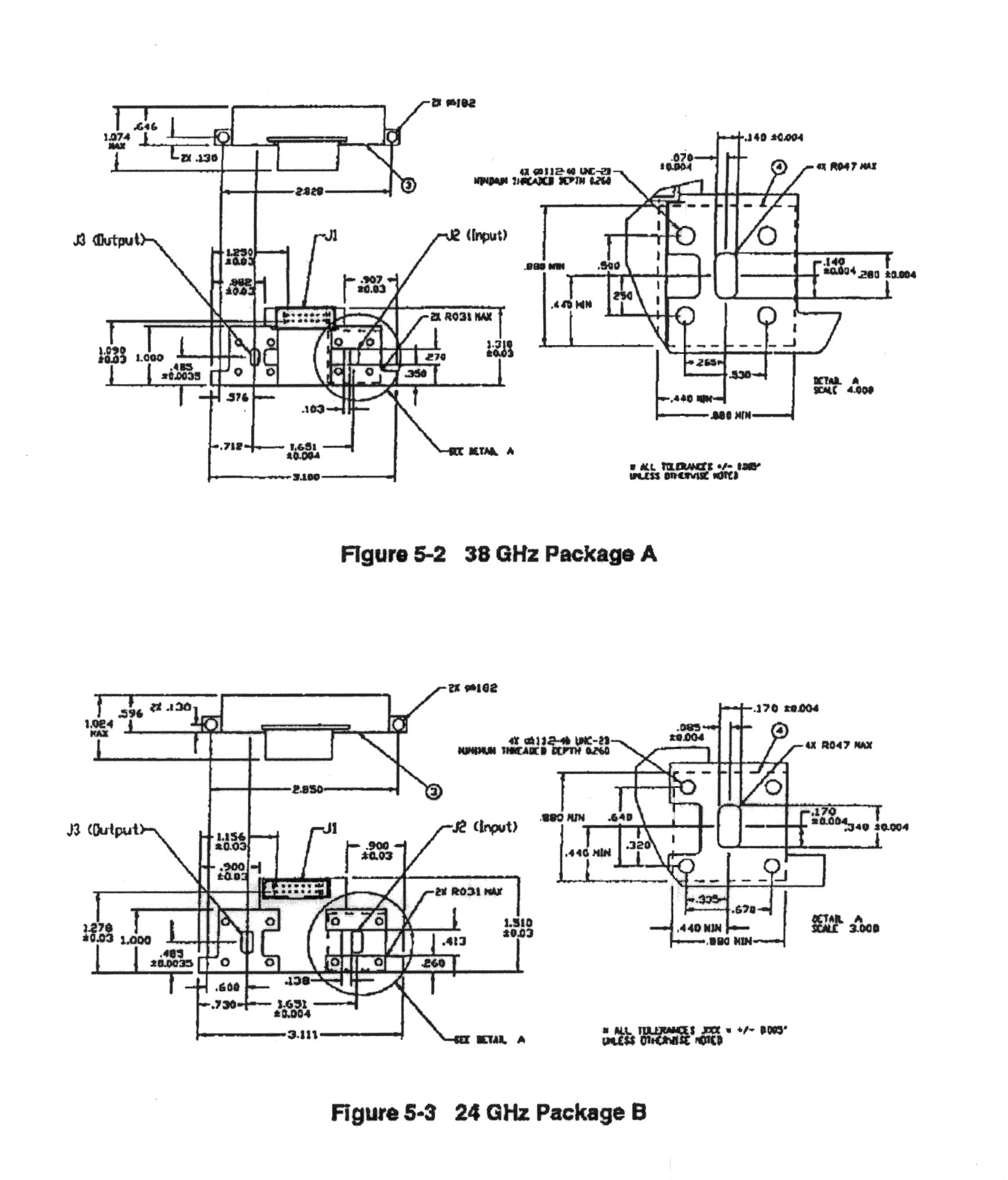
drawing #8 Mechanical drawings

drawing #9 Mechanical

drawing #10 Picture